Руководства на все автомобили



1. Инструкция по эксплуатации
2. Двигатель
3. Сцепление
4. Коробка передач
5. Подвески
6. Рулевое управление
7. Тормозная система
8. Колеса и шины
9. Кузов
10. Электрооборудование
10.0 Электрооборудование
10.1. Измерение напряжения
10.2 Установка дополнительных электропринадлежностей
10.3. Поиск неисправностей в электрооборудовании
10.4 Реле
10.5 Электродвигатель дворников
10.6 Система указателей поворотов
10.7 Стоп-сигнал
10.8 Звуковой сигнал
10.9 Обогрев заднего стекла
10.10 Замена предохранителей
10.11. Аккумуляторная батарея
10.12 Контрольные лампы
10.13 Светодиоды
10.14 Стабилизатор напряжения
10.15 Приборы управления
10.16 Валик спидометра
10.17. Генератор
10.18. Стартер
10.19. Система освещения и сигнализации
10.20. Электросхемы
10.20.1 Электросхемы
10.20.2 Расшифровка цвета проводников
10.20.3 Комплект предохранителей
10.20.4 Идентификация электросхем
10.20.5 Инструкция по использованию электросхемы
10.20.6 Обозначение элементов в электросхемах
10.20.7 Генератор, аккумуляторная батарея, стартер, замок зажигания
10.20.8 Система зажигания, блок управления системой впрыска Digifant
10.20.9 Блок управления впрыском топлива Digifant, блок самодиагностики
10.20.10 Блок управления системы впрыска топлива Digifant
10.20.11 Щиток приборов: контрольные приборы
10.20.12 Щиток приборов: спидометр, лампы указателей поворотов и тормозов
10.20.13 Щиток приборов: тахометр, датчик тормозной системы
10.20.14 Вентилятор (150W, 250W) и дополнительный насос системы охлаждения
10.20.15 Подключение радиоприемника, прикуривателя и подкапотной лампы
10.20.16 Освещение салона
10.20.17 Фары
10.20.18 Система регулировки фар
10.20.19 Выключатели поворота, аварийной сигнализации, парковочных огней
10.20.20 Указатели поворота, задние фары
10.20.21 Выключатель освещения, подсветка номерного знака
10.20.22 Противотуманные фары, огни заднего хода
10.20.23 Вентиляторы систем охлаждения (150, 250W), обогрева и вентиляции
10.20.24 Обогрев заднего стекла и звуковой сигнал
10.20.25 Стеклоочиститель и стеклоомыватель лобового стекла
10.20.26 Стеклоочиститель и стеклоомыватель заднего стекла
10.20.27 Дизель: система предварительного подогрева, клапан отсечки топлива
10.20.28 Дизель: щиток приборов, контрольные лампы
10.20.29 Дизель: щиток приборов, тахометр, контрольные лампы
10.20.30 Дизель: радиоприемник, прикуриватель и подкапотная лампа
10.20.31 Дизель: противотуманные фары, огни заднего хода
10.20.32 Дизель: вентилятор обогрева, дополнительный насос охлаждения
10.20.33 Дизель: вентиляторы системы охлаждения (2 х 350W)
10.20.34 Дизель (ABL): система нейтрализации отработанных газов
10.20.35 Дизель (ABL): свечи накаливания, дополнительный насос охлаждения
10.20.36 Дизель (АВВ): система предварительного подогрева, отсечка топлива
10.20.37 Дизель (АВВ): дополнительный насос системы охлаждения
10.20.38 Система центральной блокировки дверей
10.20.39 Двигатели замков задних дверей
10.20.40 Подключение дополнительного аккумулятора с ноября 1990 г.
10.20.41 Буквенное обозначение важнейших приборов


Ссылки на другие сайты
 

Автомобиль Volkswagen Transporter (Фольксваген Транспортёр)



Все автомобили  »  Volkswagen Transporter (Фольксваген Транспортёр) .

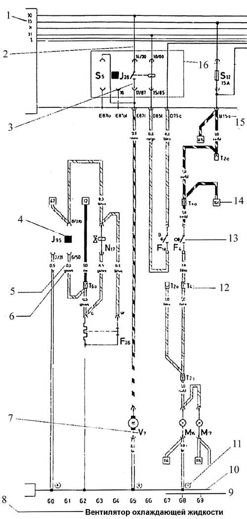
10.20.5 Инструкция по использованию электросхемы

10.20.5. Инструкция по использованию электросхемы

ОБЩИЕ СВЕДЕНИЯ

Предупреждение

Все выключатели и контакты находятся в механически нерабочем положении.


 Инструкция по использованию электросхемы Volkswagen Transporter

1. Обозначение клеммы, 15: при включенном зажигании приложено напряжение аккумуляторной батареи
2. Внутренне соединения (тонкие штрихи). Эти соединения проводниками не являются. И все же они проводят ток и позволяют проследить направление тока внутри прибора
3. Обозначение контактов на реле/ блоке управления и на релейной плате/ дополнительной релейной плате, например: 17/ 87 – на релейной плате
4. Номер места реле: обозначает место реле на релейной плате или дополнительной релейной плате
5. Поперечное сечение проводника, мм2
6. Цвет проводника соответствует цвету проводника в машине, здесь: зеленый/ белый
7. Обозначение деталей: по легенде находят, как называется условно обозначенный на схеме прибор (здесь – вентилятор охлаждающей жидкости)
8. Обозначенная деталь, условное обозначение которой находится в электроцепи выше

  9. Номер электроцепи, для облегчения отыскания прибора в электросхеме
10. "Масса" автомобиля (общий провод системы электропитания)
11. Цифры в кружках обозначают место нахождения или расположения соединений с массой
12. Комбинация букв и цифр обозначает штекерные соединения, здесь Т4 – четырехконтактное штекерное соединение. Расшифровка обозначения штекерного соединения: Т14/12 – означает: 14 – контактное штекерное соединение, 12 – контакт №12 в соединении
13. Схемное обозначение: выключатель фонаря заднего хода
14. Цифры в квадратах обозначают: обрыв проводника и указывают, в какой цепи он продолжается
15. Комбинация букв и цифр на соединениях: указана занятость линии проводниками многоконтактных или отдельных штекерных соединений, например В15а – многоконтактное соединение В, контакт 15а.
16. Поле: обозначает релейную плату с предохранителями

Hosted by uCoz